广晟服务热线:13573670168
0536-6808888
Banner

一体化医疗污水处理设备

一、一体化医疗污水处理设备工艺说明:

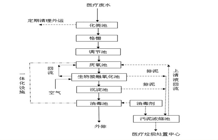
  医院污水首先进入格栅井,格栅的作用主要是拦截污水中的漂浮物及颗粒物,减轻后续设备的处理负荷和保护水泵正常工作。从格栅出来的水有提升泵提升到调节池,调节池的作用是调节水质和水量,使不同时间、不同水质的水充分混合,保证进入到后续设备的水质与水量均匀一致,还可以降低一定的负荷,使整套处理设备耐受短时间较高的负荷冲击。

  为防止SS在调节池沉淀,在调节池中安装几根曝气软管,起搅拌作用,同时调节池具有水解、酸化池的功能,可将部分大分子有机污染物降解为小分子污染物,去除部分有机污染物。调节池出来的水自流至一体化医院污水处理设备的水解酸化池,将不易分解的大分子有机物厌氧消化为易分解的小分子有机物,后废水进入接触氧化池,在曝气池中设置填料,将其作为生物膜的载体。

  待处理的废水经充氧后以一定流速流经填料,与生物膜接触,生物膜与悬浮的活性污泥共同作用,达到净化废水的作用。生物处理后的废水自流入沉淀池,沉淀后上清液自流入消毒池,经过二氧化氯消毒后达标排放。

mmexport1558256674623_副本.jpg

二、一体化医疗污水处理设备工艺选择:

  采用生物处理工艺----生物接触氧化法加二氧化氯发生器消毒的工艺,集去除CODcr、BOD5、NH3-N等于一身,是目前有效的污水处理设备。处理后的污水达到《国家医疗机构污水排放标准GB18466-2005》。

医院污水.jpg



三、一体化医疗污水处理设备部分:

  1、格栅:格栅设置于调节池内污水源头进水一端,格栅井内设置人工格栅,通过格栅拦截去除医院污水中较大的悬浮物固体、纸屑,保护水泵及后续管路系统不被堵塞。

  2、调节池:提高整个系统的抗冲击性能减少处理单元的设计规模。有利于降低运行成本和水质波动带来的影响。设置液位自动控制装置,水泵将根据液位自动开启。

  3、缺氧池:由于污水中的有机成分较高,BOD5/CODcr=0.5可生化性好,因此设计采用生物膜法。

2d1f19b8bd9f40e4d361dd38b813bd876fda049784dc7920a.jpg

四、一体化医疗污水处理设备特点:

(1)设计结构紧凑,空间利用充分,减少医院占地面积

(2)设备不会产生任何噪声、无异味、无污染,不会给病人和工作人员带来不便

(3)处理方式灵活,不会受到污水排放量的多少而影响处理效果

(4)自动化程度高,管理费用小,污水处理效果完全能够满足国家规定的排放标准

mmexport1523617841611 (3).jpg

mmexport1559222587339.jpg


一体化医疗污水处理设备 2020-6-20 本文被阅读 1013 次
< a href=" ">在线客服